I. Use
This test device is designed according to the requirements of \"ball pressure test\" stipulated in standards such as GB2099. It is mainly used for heat resistance test of household and similar plug and socket products. It is the quality of relevant manufacturers and quality inspection departments Necessary equipment for detection and control.
How to use
1. According to the test requirements, first place the ball pressure test device in the heating box for a long enough time to ensure that the ball pressure test device has reached a stable test temperature before the test starts.
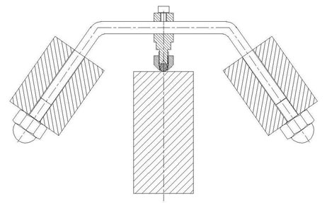
1. Place the component under test on the support base so that it is in direct contact with the support base.
1. Place the surface of the component under test in a horizontal position and press the steel ball against the surface (see the figure below). The test shall be carried out in a heating box with a standard temperature.
1. After the test reaches the time specified in the standard, the ball is removed from the sample, and after cooling according to the requirements of the standard, the diameter of the steel ball indentation is measured to determine whether it is acceptable.
Third, maintenance
After using the device, wipe it clean and put it in a dry, dust-free place indoors.
