Product Overview:
EYJ Fruit Hardness Tester Stand is equipped with EY-1, EY-2, and EY-3 fruit hardness testers for accurate hardness testing of apples, bananas, pears, and watermelons.
Features:
1. Simple and stable operation, suitable for indoor table testing;
2. Using screw drive technology;
3. Smooth displacement and high test accuracy.
Product parameters:
1. Test effective stroke: 15mm;
2. Dimensions (length x width x height): 188 × 200 × 336 (mm);
3. Net weight: 8.5kg.
Test:
1. During the test, install the fruit hardness meter on the rack, place the fruit on the workbench, and rotate the handwheel handle on the machine to press the fruit hardness meter into the fruit.
2. The value shown on the fruit hardness table is the hardness value.
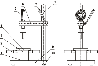
Five, structure diagram

1.Direction sleeve
2. Handle
3. Screw nut
4.Workbench
5.Hardness meter
6.Positioning board
7, lock handle
8.Support pillar
9.Bottom plate
10.Bottom